به گفته cnx-software
شرکت Grinn یک برد SBC در اندازه کارت اعتباری را با سیستمرویماژولهای GenioSOM-510 یا GenioSOM-700 معرفی کرده که بر پایه MediaTek Genio 510/700 (Cortex-A78/A55) ساخته شده است. این برد برای کاربردهای Edge AI طراحی شده و با پشتیبانی از Thistle Security Platform و ماژول امنیتی سختافزاری Infineon OPTIGA Trust M، مسیر پیادهسازی قابلیتهای رمزنگاری و ذخیره امن کلیدها و کمک به تطابق با قانون Cybersecurity Resilience Act (CRA) اتحادیه اروپا را هموار میکند.
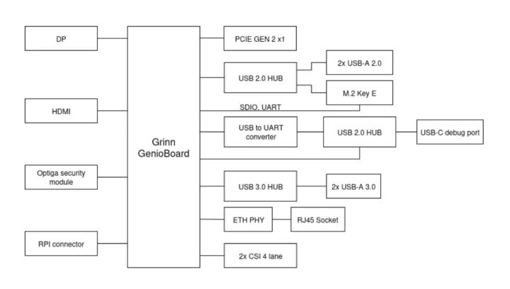
Genioboard با فرمی مشابه Raspberry Pi 3 Model B عرضه میشود و 4GB RAM، حافظه 16GB eMMC، اترنت گیگابیتی، چهار پورت USB 3.0/2.0، خروجیهای HDMI و DisplayPort، دو رابط دوربین MIPI CSI چهار لاین، هدر 40 پین سازگار با HAT، پورت USB‑C برای دیباگ و تغذیه USB‑C PD را ارائه میکند. در قسمت زیرین برد نیز دو سوکت M.2 برای شتابدهندههای AI و ماژولهای بیسیم تعبیه شده است.
| بخش | جزئیات | توضیحات |
|---|---|---|
| System-on-Module | Grinn GenioSOM-510 یا Grinn GenioSOM-700 | |
| SoC (گزینه 1) | MediaTek Genio 510 (MT8370) | پردازنده ششهستهای Arm Cortex-A78/A55 تا 2.2 GHz، Mali-G57 MC2، Decode 4Kp60، Encode 4Kp30، NPU تا 3.2 TOPS، HiFi5 DSP |
| SoC (گزینه 2) | MediaTek Genio 700 (MT8390) | پردازنده هشتهستهای Cortex-A78/A55 تا 2.2 GHz، Mali-G57 MC3، Decode 4Kp75، Encode 4Kp30، AI accelerator تا 4.0 TOPS، HiFi 5 DSP |
| حافظه سیستمی | 4GB RAM | |
| ذخیرهسازی | 16GB eMMC | |
| خروجی ویدئو | HDMI و DisplayPort | پشتیبانی 4K بسته به SoC |
| دوربین | 2× رابط MIPI CSI چهار لاین | |
| شبکه | گیگابیت اترنت (RJ45) | |
| USB | 2× USB 2.0 Type‑A + 2× USB 3.0 Type‑A | |
| گسترش (Header) | هدر 40 پین سازگار با Raspberry Pi HAT | GPIO/Busها |
| گسترش (M.2 Key‑M) | PCIe Gen2 x1 | برای شتابدهنده AI |
| گسترش (M.2 Key‑E) | USB/SDIO/UART | برای ماژول WiFi & Bluetooth |
| دیباگ | USB‑C to UART یکپارچه | اینترفیس دیباگ روی برد |
| امنیت | OPTIGA Trust M (SLS32AIA010M) | ذخیره کلید مبتنی بر سختافزار و عملیات رمزنگاری؛ پشتیبان CRA |
| متفرقه | کلیدهای Reset و Download؛ کانکتور فن 4‑پین | |
| تغذیه | USB‑C PD | |
| ابعاد | 87 × 56 mm | فرمفکتور تقریباً هماندازه Raspberry Pi 3 Model B |
این برد بدون سیستمعامل از پیش نصبشده عرضه میشود. Grinn برای یوکتو لینوکس با دسکتاپ سبک (گزینه پیشنهادی) و Debian پشتیبانی ارائه کرده و پشتیبانی Android در دست توسعه است. جزئیات فنی و راهنمای شروع در ویکی در دسترس است و لایه Yocto Meta نیز در GitHub منتشر شده است.
به گفته Grinn، Genioboard برای OEMهای دستگاههای امبدد که قصد عرضه راهکارهای بینایی کامپیوتری مبتنی بر Edge AI، دستگاههای IoT پیشرفته، کاربردهای Smart Home، اتوماسیون صنعتی، استریم صوت/ویدئو و سایر اپلیکیشنهای چندرسانهای را دارند، طراحی شده است.
در همین فرمفکتور کارت اعتباری، نزدیکترین رقیب اعلامشده Radxa NIO 5A با SoC جدیدتر MediaTek Genio 520 است که تا 10 TOPS کارایی AI را هدف میگیرد.

طبق بیانیه مطبوعاتی، Grinn میگوید Genioboard هماکنون از طریق وبسایت www.genioboard.com یا توزیعکنندگان مجاز قابل سفارش است؛ بااینحال در سایت فقط پیام «Available Soon Through Major Distributors» دیده میشود و اطلاعاتی درباره قیمت ارائه نشده است.
من اون دیوونهام که وقتی بورد روشن نمیشه، ذوق میکنم؛ یعنی یه شب تا صبح قراره با منبع تغذیه و لاجیک آنالایزر عشق کنم! آدما قهوه میخورن که بیدار بمونن، ولی من بیدار میمونم تا بفهمم این بورد چرا باهام قهر کرده! زندگی من یه لوپ بینهایته بین باگ و دیباگ... با چاشنی یه کم امید و یه عالمه دیوونگی!
خبر خوب اینکه تیم collabora اخیرا پشتیبانی لینوکس رو برای این بردها ایجاد کردن 🙂
https://www.collabora.com/news-and-blog/news-and-events/collabora-mediatek-pushing-boundaries-on-the-latest-iot-boards-and-chromebooks.html
سیسوگ با افتخار فضایی برای اشتراک گذاری دانش شماست. برای ما مقاله بنویسید.